BMW Patents Proprietary Screws That Only Dealerships Can Remove

Share
BMW 3.0 CSL Batmobile

By Evan Williams

German automakers have a decades-long reputation for forcing people to buy specialty tools. BMW has managed to take that specialty tool requirement and crank it up to a level we've never seen before. Its latest patent uncovered by CarBuzz is for a new screw head that will have mechanics seeing red. Or maybe that's seeing blue and white? Either way, it's a screw with a head that is the BMW roundel logo, and it can't be removed with normal tools.

Europe Loves Specialized Fasteners

BMW Roundel Fastener (2)
BMW/EUIPO

If you've worked on anything from the VW Group, Mercedes-Benz, or BMW, you know you're going to find fasteners you won't find anywhere else. Triple-squares, massive Torx and hex bits, even the infuriating E-Torx, just for a start. That's before you get into the giant wrenches or sockets you need just to take off the oil filter housing.

BMW Roundel Fastener (5)
BMW/EUIPO

This one, though, has the mechanics at CarBuzz buzzing with rage. Because if BMW decides to use them, it will be a long time before you can pick up the right set of tools at Harbor Freight, or anywhere other than a BMW authorized retailer.

"The invention relates to a screw," the patent starts. We assume that refers to screwing over a mechanic. Okay, okay. We'll get to the point.

BMW Roundel Fastener (4)
BMW/EUIPO

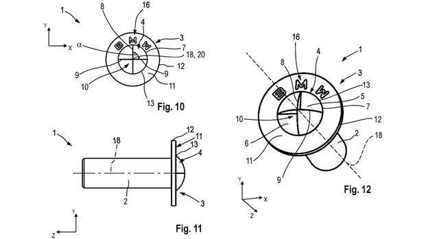
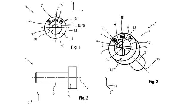
It's the head of the screw, more precisely a form of socket head screw. Instead of the familiar slot of a flat head, cross of a Phillips, or even the Robertson square or a hex, it's BMW's historic roundel. Two of the four quadrants are recessed, where the screwdriver bit goes, and two are flush. For some extra flair, the BMW logo is embossed in the edge of the screw head. Just to remind you who has created this abomination.

This Is About Keeping You Out

BMW Logos (4)
BMW

This isn't about adding style, or at least not completely. BMW really does want to use these to stop people from working on their own cars. It spells out in the patent that "the shape of the engagement recesses prevents the screw from being loosened or tightened using common counter-drive structures, e.g. by unauthorized persons." That's straight from BMW. 

Source: EUIPO

Read the full article on CarBuzz  

This article originally appeared on CarBuzz and is republished here with permission

Story Continues
Share
Autos