Porsche Patents A Novel Way To Get Rid Of Convertible Wind Deflectors

Share
2013 Porsche Boxster and Boxster S (36)

By Joel Stocksdale

Engineering a convertible isn't an easy task. Chopping the roof off a car adds all kinds of complications from big ones like chassis rigidity, to smaller ones, like keeping the cabin calm with the top down. For decades, that latter issue has been handled with some kind of wind deflector behind the front occupants. While some cars have had fancy power retractable ones, all too often they're ugly, fiddly pieces of plastic that snap into place. Depending on how things go with a new patent, however, the days of these deflectors might be over for Porsche 911 and Boxster convertibles.

Porsche Wind Deflector Patent drawing
Porsche

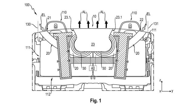
It Uses The Wind To Deflect The Wind

Porsche's patent, which the World Intellectual Property Organization says was published by the German Patent and Trademark Office last year, harnesses the power of the wind to keep it out of the cabin. It effectively creates a barrier with air. The way this works is surprisingly straightforward, and it's well illustrated by the drawing above. Behind the passenger compartment is a series of ducts. The outer ducts pull in air roughly from the sides of the car. They show them taking air from roughly the top and sides of the body, but presumably air could be brought in even from intakes on the flanks of the body.

2013 Porsche Boxster and Boxster S (17)
Porsche

 

The air then travels through the ducts into the middle where one or two motors powering radial fans sit. These fans are basically like the ones you'll find in your car's HVAC blower, or even in extremely tiny form in a laptop computer. The fans are there to adjust the amount of air flow, either more or less. This way, the ideal amount of air flow can be provided at any vehicle speed. The fans blow the air through vents that are in the middle of the car, basically where a physical deflector would go.

On top of adjusting the amount of airflow, Porsche describes the exit vents as having adjustable vanes. These would make it so that the pattern and angle of the airflow is ideal for different speeds. The end result should be a system that can push air to keep gusts from turbulent air outside the car from sneaking into the cabin, all while eliminating the need for a fussy and unpleasant looking physical deflector.

This Seems Like A Great Idea

We're not aerodynamicists, nor do we have deep expertise in the area of fluid dynamics. However, we know that you can do some pretty wild things by channeling air. Take, for instance, the McLaren Elva. When it launched, there was no option for a glass windshield. To keep passengers from taking the full brunt of the wind, though, the company created air ducts that channeled lower intake air up to deflect the wind up and over the occupants. So if McLaren can figure out clever ways to work with the wind, Porsche should be able to, too.

Source: German Patent and Trademark Office via World Intellectual Property Organization

Read the full article on CarBuzz  

This article originally appeared on CarBuzz and is republished here with permission.  

Story Continues
Share
Autos